聯系我們

- 電話 : 0510-83270388
 - 手機 : 18661287278
 - 郵箱 : bw@bwhgsb.com
 - 網址 : www.bwhgsb.com
 - 地址 : 江蘇省無錫市錢橋鎮恒源祥工業園恒亮路12號
 
搪玻璃塔節





3.3 搪玻璃塔節標記為:
  塔節 ①②-③④⑤⑥
  其中:
 ?、佟Q壓力,用PN××表示,單位為兆帕(Mpa);
  ②——公稱直徑,用DN××表示,單位為毫米(mm);
 ?、邸褪?,用A或B表示
 ?、堋B接型式,用Ⅰ或Ⅱ表示
  ⑤——長度,用L表示,單位為毫米(mm);
  ⑥——標準號,HG/T3127
  示例:
  公稱壓力PN0.6MPa,公稱直徑DN1000mm,高頸法蘭聯接的A型搪玻璃塔節、長度為2000mm塔節PN0.6DN1000-AⅡL=2000mm HG/T3127
4 技術要求
4.1 搪玻璃塔節的設計、制造、檢驗及驗收應符合HG 2432的要求。
4.2 搪玻璃塔節的形位公差按HG/T2637搪玻璃件幾何尺寸檢測方法進行檢測,其結果應符合表4的規定。
表4 搪玻璃塔節形位公差
| 名稱 | 公稱直徑 DN | |||
| DN≤1000 | 1000<DN≤2000 | |||
| 塔節法蘭平面度 | 2 | 0.2%DN | ||
| 塔節法蘭對塔節法蘭平行度 | 1%DN且不大于5 | 0.5%DN且不大于7 | ||
| 塔節直線度 | 0.3%L | |||
| 塔節法蘭對塔節軸線的垂直度 | 150~250 | 300~1000 | 1100~1600 | 1750~2000 | 
| 2.5 | 3.5 | 4.5 | 5.5 | |
5 標牌、出場文件、包裝、運輸和貯存
5.1 產品標牌按HG2432的有關規定。 
5.2 
出廠產品應有裝箱單、產品合格證,質量證明書。質量證明書至少包括材料的化學成分和力學性能、公稱壓力、公稱直徑、主要尺寸和檢驗報告等內容。
5.3 包裝、運輸按HG2432的有關規定。
5.4 外露的搪玻璃面必須嚴格保護。
5.5 產品出廠前應妥善保管,防止雨雪天氣及腐蝕性介質侵蝕,一般不允許露天存放。
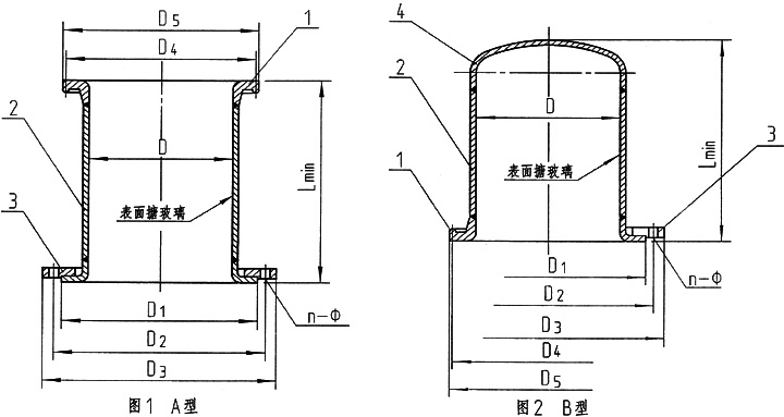
表1明細表
件號  | 標準號  | 名稱  | 數量  | 材料  | 備注  | 
1  | HG/T2049  | 高頸法蘭  | /  | 符合HG2432  | /  | 
2  | GB/T7996  | 塔 體  | 1  | 符合HG2432  | /  | 
3  | HG/T2105  | 活套法蘭  | /  | 符合HG/T2105  | /  | 
4  | JB/T4746  | 塔節封頭  | 1  | 符合HG2432  | /  | 
表2主要尺寸
公稱直徑DN  | D  | D1  | D2  | D3  | Lmin  | n-Ф  | 
150  | 150  | 212  | 240  | 285  | 500  | 8-22  | 
200  | 207  | 268  | 295  | 340  | 500  | 8-22  | 
250  | 257  | 320  | 350  | 395  | 500  | 12-22  | 
300  | 303  | 370  | 400  | 445  | 500  | 12-22  | 
400  | 403  | 482  | 515  | 565  | 500  | 16-26  | 
				
			